So, TVs are getting flatter and bigger. How big can they go? What about 292 inches. That’s the largest size that Samsung’s The Wall can achieve. This is a TV that can take up the whole wall.
So Fahrenheit 451 has imagined whole wall TVs before
When I heard about “The Wall”, immediately thought of Fahrenheit 451. I had to read the book in high school. Ray Bradbury, the author, had some books with visions of the future. Dystopian future. The book describes parlor walls, which are large interactive TVs that basically take up a whole wall.
He stood in the hall looking at her.
“It’s sure fun,” she said.
“What’s the play about?”
“I just told you. There are these people named Bob and Ruth and Helen.”
“Oh.”
“It’s really fun. It’ll be even more fun when we can afford to have the fourth wall installed. How long you figure before we save up and get the fourth wall torn out and a fourth wall-TV put in? It’s only two thousand dollars.”
“That’s one-third of my yearly pay.”
“It’s only two thousand dollars,” she replied. “And I should think you’d consider me sometimes. If we had a fourth wall, why it’d be just like this room wasn’t ours at all, but all kinds of exotic people’s rooms. We could do without a few things.”
“We’re already doing without a few things to pay for the third wall. It was put in only two months ago, remember?”
For the original movie version, the TV actually looked a lot like the flat screen TVs that are common in many homes today rather than a whole wall.
Fahrenheit 451 (1966): Interactive TV sequence
But I suppose that was pretty innovative for 1966 given that a TV then was much bulkier.
The Wall
The Wall TV comes in massive sizes, like 146-inch and 292-inch
The patent shows how the modular panels of the TV fit together.
Samsung can get such a large size by coupling multiple smaller panels together. They can make the typical TV shape or create displays that are more vertically or horizontally oriented.
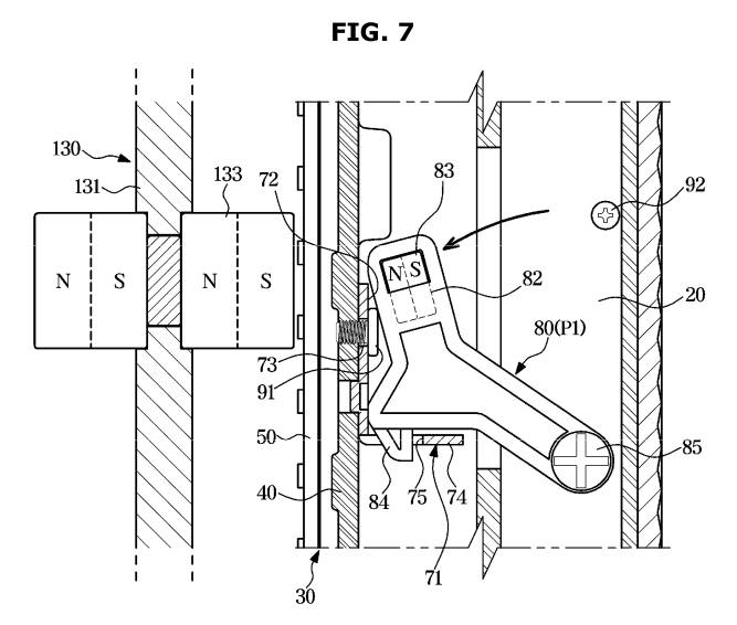
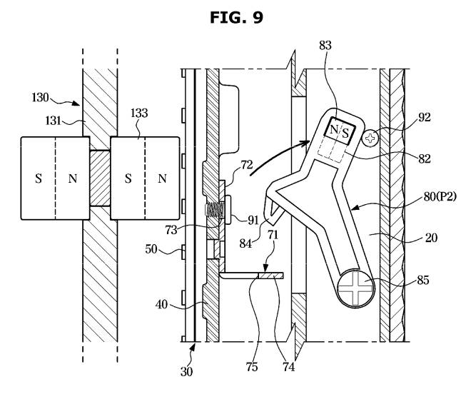
The patent (US10798830) I was able to find describes the method for attaching the multiple panels to a frame. The frame includes multiple latches with embedded magnets. Passing an attractive magnet in front of the panel engages the latch to lock.

Conversely pass a repulsive magnet in front of the panel disengage the late and allows the panel to be removed from the frame.

Seems like we are a step closer to parlor walls. I wonder when the interactive part will come in to play.
Explore More
https://www.youtube.com/watch?app=desktop&v=kWVRgBTvRb8&t=62s


Leave a Reply